Turbine Control Valve

Turbine Control Valve (TCV) atau Katup Kontrol Turbin adalah katup utama yang mengatur aliran dan tekanan uap atau air sebelum masuk ke turbin pada pembangkit listrik. Fungsinya sangat kritis untuk mengontrol daya keluaran, kecepatan turbin, dan melindungi peralatan dari kondisi berbahaya.

Pengertian, Fungsi, dan Prinsip Kerja dalam Pembangkit Listrik

Turbine Control Valve (TCV) adalah komponen kritis dalam sistem pembangkit listrik tenaga uap (PLTU) dan tenaga air (PLTA). Pada PLTU, TCV berperan sebagai katup pengatur utama yang mengontrol laju aliran uap bertekanan tinggi dari boiler sebelum masuk ke sudu-sudu turbin. Pada PLTA, katup ini mengatur aliran air dari penstock menuju turbin air. Pengaturan aliran ini secara langsung menentukan jumlah energi kinetik yang diberikan ke turbin, yang kemudian dikonversi menjadi energi mekanik untuk memutar generator.

Katup kontrol turbin uap besar berwarna perak di pembangkit listrik, close-up

Prinsip kerjanya didasarkan pada modulasi bukaan (opening) katup, baik secara hidrolik, pneumatik, atau elektrik, yang menerima sinyal dari sistem kontrol governor atau Distributed Control System (DCS) pembangkit. Ketika beban listrik pada jaringan meningkat, sistem kontrol akan memerintahkan TCV untuk membuka lebih lebar, sehingga lebih banyak uap atau air mengalir dan daya keluaran generator bertambah. Sebaliknya, saat beban turun, katup akan menutup sebagian untuk menyesuaikan output pembangkit. Presisi dan kecepatan respon TCV sangat menentukan efisiensi dan stabilitas operasi pembangkit.

Teknisi memeriksa katup kontrol turbin di ruang mesin pembangkit listrik

Peran dalam Kontrol, Proteksi, dan Stabilitas Sistem

Selain fungsi kontrol beban, TCV memainkan peran vital dalam proteksi peralatan dan stabilitas sistem kelistrikan. Katup ini dapat menutup dengan cepat (fast closing) sebagai respons terhadap trip turbin atau generator untuk mencegah overspeed (kecepatan berlebih) yang dapat merusak turbin dan generator. Pada kondisi darurat di jaringan, seperti gangguan yang menyebabkan frekuensi sistem naik tajam, TCV akan menutup sebagian untuk mengurangi daya mekanik input, membantu menstabilkan frekuensi jaringan kembali ke 50 Hz.

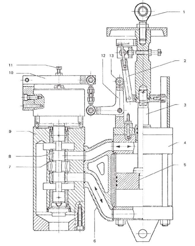
Diagram teknik katup kontrol turbin uap dengan bagian-bagian berlabel

Dalam konteks operasi sistem tenaga listrik secara keseluruhan, kemampuan TCV dalam merespon sinyal Automatic Generation Control (AGC) sangat penting. AGC mengirim sinyal ke berbagai pembangkit untuk menaikkan atau menurunkan dayanya secara real-time guna menjaga keseimbangan beban dan frekuensi. Performa TCV yang andal memastikan pembangkit dapat berpartisipasi efektif dalam regulasi frekuensi ini. Dengan demikian, TCV bukan hanya komponen lokal pembangkit, tetapi juga elemen kunci dalam menjaga keandalan dan keamanan sistem transmisi dan distribusi listrik nasional.

Instalasi katup kontrol turbin utama dengan pipa-pipa besar berinsulasi

15 Kamus Lainnya

Automatic Voltage Regulator (AVR)

Automatic Voltage Regulator (AVR) adalah perangkat atau sistem yang secara otomatis menjaga tegangan listrik pada nilai yang stabil dan konstan.…

Baca Detail »

Black Start Capability

Black Start Capability adalah kemampuan pembangkit listrik untuk memulai operasi dan menghasilkan daya listrik tanpa bergantung pada sumber listrik eksternal…

Baca Detail »

Bus Differential Protection

Bus Differential Protection adalah skema proteksi utama yang melindungi busbar di gardu induk dan pembangkit listrik. Ia bekerja dengan membandingkan…

Baca Detail »

Distance Protection Relay

Distance Protection Relay adalah relai proteksi yang bekerja berdasarkan impedansi saluran untuk mendeteksi dan mengisolasi gangguan di sistem tenaga listrik.…

Baca Detail »

Generator Step Up Transformer (GSU)

Generator Step Up Transformer (GSU) adalah transformator daya berkapasitas besar yang berfungsi menaikkan tegangan listrik keluaran generator pembangkit (misalnya 15…

Baca Detail »

Governor Control System

Governor Control System adalah sistem kendali otomatis yang mengatur kecepatan putar dan daya keluaran turbin pada pembangkit listrik untuk menjaga…

Baca Detail »

Heat Rate Performance

Heat Rate adalah parameter efisiensi termal pembangkit listrik yang mengukur konsumsi energi panas (bahan bakar) untuk menghasilkan satu unit energi…

Baca Detail »

Isolated Phase Busduct (IPB)

Isolated Phase Busduct (IPB) adalah sistem konduktor berinsulasi gas yang dirancang untuk menyalurkan arus listrik sangat besar dari generator ke…

Baca Detail »

Non Spinning Reserve

Non-Spinning Reserve adalah kapasitas pembangkit listrik yang dapat disiapkan dan disinkronkan ke sistem dengan cepat (biasanya dalam 10-30 menit) untuk…

Baca Detail »

Power Factor Correction

Power Factor Correction (PFC) atau Koreksi Faktor Daya adalah teknik untuk meningkatkan faktor daya (cos φ) dengan mengurangi daya reaktif…

Baca Detail »

Reactive Power Compensation

Reactive Power Compensation adalah teknik untuk mengatur daya reaktif (VAR) dalam sistem kelistrikan guna meningkatkan stabilitas tegangan, efisiensi transmisi, dan…

Baca Detail »

Spinning Reserve Margin

Spinning Reserve Margin adalah kapasitas pembangkit listrik yang tersinkronisasi dengan sistem dan siap langsung digunakan untuk menanggapi fluktuasi beban atau…

Baca Detail »

Station Service Transformer (SST)

Station Service Transformer (SST) adalah trafo daya khusus yang menyediakan daya listrik untuk peralatan bantu (auxiliary) di dalam pembangkit listrik…

Baca Detail »

Unit Auxiliary Transformer (UAT)

Unit Auxiliary Transformer (UAT) adalah trafo khusus yang menyediakan daya listrik untuk peralatan bantu (auxiliary) di dalam pembangkit listrik atau…

Baca Detail »

PLTU

PLTU (Pembangkit Listrik Tenaga Uap) mengubah energi kimia bahan bakar (batu bara, gas, minyak) menjadi listrik melalui siklus Rankine. Bahan…

Baca Detail »

12 Pembangkit Utama Indonesia

PLTU Paiton

  • Probolinggo & Situbondo, Jawa Timur
  • 4608 MW
  • PT PLN Nusantara Power, PT Paiton Energy, PT Jawa…
  • Beroperasi
Detail »

PLTU Suralaya

  • Pulomerak, Cilegon, Banten
  • 3440 MW
  • PT Indonesia Power
  • Beroperasi
Detail »

PLTU Batang

  • Ujungnegoro, Kab. Batang, Jawa Tengah
  • 2000 MW
  • PT Bhimasena Power Indonesia
  • Beroperasi
Detail »

PLTU Jawa 7

  • Kab. Serang, Banten
  • 2100 MW
  • PT SGPJB (Shenhua Guohua Pembangkitan Jawa Bali)
  • Beroperasi
Detail »

PLTU Tanjung Jati B

  • Jepara, Jawa Tengah
  • 1320 MW
  • PT PLN Nusantara Power
  • Beroperasi
Detail »

PLTU Cirebon 1 (Jawa-1)

  • Desa Kanci, Kab. Cirebon, Jawa Barat
  • 660 MW
  • PT Cirebon Electric Power
  • Beroperasi
Detail »

PLTU Cirebon 2

  • Kab. Cirebon, Jawa Barat
  • 1000 MW
  • PT Cirebon Energi Prasarana
  • Beroperasi
Detail »

PLTU Sumsel-8 (Tanjung Lalang)

  • Desa Tanjung Lalang, Muara Enim, Sumatera Selatan
  • 1320 MW
  • PT Huadian Bukit Asam Power (HBAP)
  • Beroperasi
Detail »

PLTU Indramayu

  • Kab. Indramayu, Jawa Barat
  • 990 MW
  • PT PLN Nusantara Power
  • Beroperasi
Detail »

PLTU Rembang

  • Kab. Rembang, Jawa Tengah
  • 630 MW
  • PT PLN Nusantara Power
  • Beroperasi
Detail »

PLTU Tanjung Awar-Awar

  • Tuban, Jawa Timur
  • 700 MW
  • PT PLN Nusantara Power
  • Beroperasi
Detail »

PLTU Pacitan

  • Pacitan, Jawa Timur
  • 630 MW
  • PT PLN Nusantara Power
  • Beroperasi
Detail »

Artikel Terbaru

Tender Proyek Energi Terbarukan Indonesia: Panduan Lengkap

Tender Proyek Energi Terbarukan Indonesia: Panduan Lengkap

Pelajari tender proyek energi terbarukan Indonesia, syarat, izin, dan strategi menang tender sektor…

28 Apr 2026

Baca artikel »
Kebijakan Investasi Energi Pemerintah Indonesia Terbaru

Kebijakan Investasi Energi Pemerintah Indonesia Terbaru

Kebijakan investasi energi pemerintah Indonesia: arah, regulasi, peluang, dan dampaknya bagi pelaku…

27 Apr 2026

Baca artikel »
Peluang Investasi Energi Melalui Danantara

Peluang Investasi Energi Melalui Danantara

Peluang investasi energi melalui danantara, analisis potensi, regulasi, dan strategi masuk sektor k…

24 Apr 2026

Baca artikel »
Proyek Pembangkit Listrik Tenaga Sampah: Analisis

Proyek Pembangkit Listrik Tenaga Sampah: Analisis

Analisis proyek pembangkit listrik tenaga sampah: skema, regulasi, biaya, dan tantangan implementas…

23 Apr 2026

Baca artikel »
Investasi PLTSA Kota Besar: Peluang dan Risiko

Investasi PLTSA Kota Besar: Peluang dan Risiko

Analisis investasi PLTSA kota besar: peluang, regulasi, biaya, dan tantangan proyek energi berbasis…

23 Apr 2026

Baca artikel »
Proyek Energi Strategis Nasional: Panduan Lengkap

Proyek Energi Strategis Nasional: Panduan Lengkap

Panduan proyek energi strategis nasional: regulasi, perizinan, dan peluang usaha ketenagalistrikan …

22 Apr 2026

Baca artikel »